Technologie konstrukcyjne masztów


Maszty wielkich żaglowców musiały mieć odpowiednią wysokość. Składały się z kilku części,
z których każda powstawała w wyniku łączenia różnych drewnianych elementów.


Maszty dawnych żaglowców budowano z drewna. Ich wymiary były proporcjonalne do wielkości kadłuba. Maszty małych jednostek można było budować z jednego elementu, którym najczęściej był pojedynczy pień dębu, ale maszty dużych statków/okrętów trzeba było składać z kilku części stawianych jedna na drugiej i odpowiednio łączonych.
Maszt składał się zwykle z trzech części. Dolna, o największej średnicy, nazywana była kolumną. Część znajdująca się nad kolumną, to stenga, natomiast najwyższa, trzecia część, to bramstenga.



W każdym maszcie (foku, grocie i bezanie) te trzy elementy miały własne, specyficzne nazwy. Dawni szkutnicy dbali nie tylko o odpowiednią wysokość masztów wieloczłonowych, ale również o ich właściwą średnicę. Ponieważ w europejskich lasach nie było aż tak wielkich drzew, poszczególne człony masztu wykonywano z wielu elementów połączonych tak, by uzyskać odpowiednie średnice i długości. Na centralny rdzeń nakładano odpowiednio wyprofilowane deski zwane deskami bocznymi lub wiązką otulającą.



Fig.512 - przekrój reji - przykład wiązki otulającej na okrąglaku

Parametry drewna

Znalezienie drewna właściwego do zastosowań szkutniczych nie było łatwe. Drewno do budowy masztów musiało być wytrzymałe i elastyczne, żeby wytrzymywało duże naprężenia na wzburzonym morzu i przy silnym wietrze. Istotny był również jego ciężar właściwy, który wpływał na całkowitą masę omasztowania i stabilność statku.
Warunki te spełniały drzewa iglaste (sosna, jodła, świerk i cedr). Z tych gatunków wybierano drzewa o najbardziej prostych pniach, długich włóknach i największej wytrzymałości na skręcanie.

Wiązka otulająca

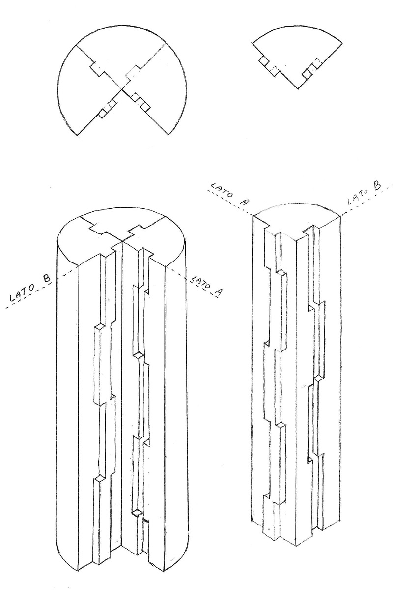
Po wyselekcjonowaniu odpowiednich pni wycinano z nich części masztu. Następnie obrabiano je, wykonywano w nich złącza czopowe, i łączono je tak, by cała konstrukcja była wystarczająco trwała i solidna (rysunki 1 i 2).



Elementy drzewca łączono i zespalano od podstawy kolumny aż do końca. Tylko w ten sposób można było uzyskać odpowiednie średnice i długości masztu. Po połączeniu desek kolumna masztu miała przekrój kwadratowy. Dlatego w następnym etapie trzeba było ją ociosać, żeby uzyskać kolisty przekrój. Na rysunku 2 przedstawiono przekroje poprzeczne i podłużne wieloelementowego masztu pochodzące z francuskiego dokumentu z początku XIX wieku. Widać tam, że u podstawy znajdowały się najgrubsze elementy, w środkowej części elementy cieńsze, zapewniające większą elastyczność, na końcu zaś znów elementy grubsze, dzięki którym połączenie kolumny z członem znajdującym się nad nią było wystarczająco solidne.



Trzeci od góry przekrój poprzeczny przedstawia odcinek masztu z największą liczbą elementów. Jest ich aż dwadzieścia jeden. Doświadczony szkutnik z Brestu zastosował tę metodę, by skonstruować grotmaszt o wysokości ponad 39 metrów i metrowej średnicy dla okrętu wojennego wyposażonego w 116 dział. Wykorzystał do tego celu elementy drewniane o mniejszej średnicy, jakimi dysponował.

Barwienie

Po wykonaniu masztu jego drzewce kolorowano. W krajach północnej Europy szkutnicy używali do tego celu bieli ołowiowej zmieszanej z olejem. W Europie kontynentalnej stosowano barwnik roślinny nadający drewnu kolor zbliżony do czerni.
W Anglii biel ołowiową stosowano do reformy Nelsona – później malowano maszty na charakterystyczny kolor ochry.






Maszt i jego części składowe


Maszty żaglowców tylko na pierwszy rzut oka wyglądały jak proste drewniane walce.
W rzeczywistości były konstrukcjami wysoce złożonymi.


Maszty żaglowców stawiano na osi symetrii kadłuba pod kątem około 90 stopni. Wspominaliśmy już we wcześniejszych artykułach, że w starożytności i średniowieczu statki miały proste omasztowanie i ożaglowanie – zwykle był to jeden maszt z jednym żaglem. W czasach nowożytnych, gdy zaczęto budować coraz większe okręty, pojawiła się konieczność stawiania dwóch, trzech i więcej masztów. Każdy z nich wyposażano w kilka żagli. Taki układ był bardziej skomplikowany, ale ułatwiał żeglugę w rozmaitych warunkach. Poza tym pozwalał na znaczne zwiększenie powierzchni wystawionej na działanie wiatru.

Człony masztu – kolumna

Konieczność przygotowywania coraz większych masztów zmusiła ich konstruktorów do zastosowania metody kompozytowej, czyli przygotowywania elementów składających się z wielu drewnianych desek (zwanych żebrami), odpowiednio zmontowanych i połączonych za pomocą solidnych wiązań i żelaznych obręczy (patrz rysunek).



Na większych statkach, takich jak duże galeony z XVII wieku, drzewce musiało koniecznie składać się z dwóch lub, częściej, trzech części ustawionych jedna na drugiej i odpowiednio połączonych.
Najgrubszy i najmocniejszy element dolny, połączony bezpośrednio z kadłubem, nazywano kolumną. Człon znajdujący się bezpośrednio powyżej nazywany był stengą. Trzeci zaś, najwyższy, nazywany był bramstengą. Ostatnia część drzewca mogła być zwieńczona przez jeden lub dwa dodatkowe człony. Kolumny przyjmowały bardziej szczegółowe nazwy w zależności od masztu, do którego należały.
Korzystając z rysunku 2, przedstawimy pokrótce elementy, z jakich składała się kolumna. Jej dolna część zakończona była wpustem o przekroju czworobocznym zwanym piętą masztu. Wpuszczano ją w tak zwaną stopę masztu, która na drewnianych żaglowcach miała postać grubej belki drewnianej montowanej na nadstępce. Odcinek kolumny znajdujący się pod pokładem miał często przekrój eliptyczny. między tym zgrubieniem a górnym krańcem (topem) miał najczęściej przekrój kwadratowy z zaokrąglonymi krawędziami. Top kolumny miał postać wpustu o przekroju kwadratowym, który wpuszczano w okucie lub obejmę (dyby) łączącą kolumnę z następnym członem masztu. Do zgrubienia montowano salingi mocowane śrubami i niekiedy obejmami. Salingi składały się ze wzdłużników salingu i poprzeczników salingu.



Stenga i bramstenga

Człon masztu umieszczany nad kolumną nazywano stengą. Jego dolny koniec o przekroju kwadratowym, czyli piętę, wsuwano w obejmę na topie kolumny. W pięcie stengi znajdował się kwadratowy otwór do wsunięcia tak zwanego klucza, czyli klina, którego końce spoczywały na wzdłużnikach salingu, podtrzymując tę część masztu. W odcinku masztu między wzdłużnikami salingu a dybami (głowicą) wykonywano otwór, w którym mocowano krążek specjalnej liny, którą podciągano stengę, by postawić ja na kolumnie. Na górze znajdowało się kolejne zgrubienie, na którym wspierały się elementy salingu, czyli wzdłużniki i poprzeczniki. W zgrubieniu tym wykonano szczelinę i mocowano w niej krążek z liną do podnoszenia i opuszczania stengi. Stenga zwieńczona była obejmą mocowaną na odcinku drzewca o przekroju kwadratowym. Elementy bomstengi (i ewentualnych dalszych steng) nie różniły się od elementów stengi. Na dole znajdowała się pięta o przekroju kwadratowym, natomiast górna część zwieńczona była zgrubieniem do montażu salingu. Ostatni odcinek, czyli ostatnia stenga, zwieńczony był jabłkiem.

Obejmy i listwy wzmacniające masztu


Wieloczłonowe maszty wielkich żaglowców zespalano obejmami z lin lub żelaznymi obręczami.
Poza tym wzmacniano je listwami, również odpowiednio wiązanymi do drzewca.


W poprzednich rozdziałach opisaliśmy budowę masztów wielkich żaglowców jako składających się z wielu członów, w tym kolumn stanowiących dolne części drzewca. Kolumny składano z kilku elementów, które można nazwać centralnym rdzeniem i desek bocznych. Elementy boczne łączono z elementem centralnym specjalnymi złączami, o odpowiednim profilu zapewniającym drzewce trwałość i stabilność.

Specjalne wiązania

Wszystkie elementy boczne zespalały różnego rodzaju wiązania wykonywane linami, pełniącymi funkcję obejm. Wykonywano je, obwiązując drzewce liną pięcio- lub sześciokrotnie. Liny przybijano do drzewca niewielkimi gwoździami i nakładano na nie drewniane obręcze. Obejmy wykonywało kilku marynarzy, korzystających z niewielkiego kołowrotu, by jak najciaśniej owinąć linę wokół drzewca (patrz rysunek).



Pod koniec wieku XVII zaczęto stosować obejmy żelazne. W przerwy między dwiema obręczami wstawiano obejmy linowe. Nad i pod obręczą żelazną
dodawano obręcze drewniane. Odległość między obejmami wynosiła około stu centymetrów (patrz rysunek).



Konstrukcja wzmacniająca

Największe maszty miały bardzo złożoną strukturę, co zapewniało odpowiednią wytrzymałość. Mimo to na wielkich galeonach dodawano wzmocnienie uzupełniające w postaci desek wzmacniających. Element ten miał postać grubej deski drewnianej, układanej wzdłużnie na drzewcu od strony dziobowej. Element ten służył do wzmacniania drzewca, ale również do ukierunkowywania stengi, gdy ją zakładano i zdejmowano. Długość tych elementów wzmacniających była różna. Pierwsze były stosunkowo krótkie, lecz z biegiem lat wydłużano je, doprowadzając prawie do poziomu odeskowania pokładu górnego. Szerokość desek i ich grubość również rosła, czyli te dolne były grubsze od górnych. Grubość musiała umożliwiać wciągnięcie stengi na maszt. Zwykle deski wzmacniające wykonywano z drewna dębowego. Na rysunkach powyżej (nr 3 i 4) i poniżej wyraźnie widać, że ich powierzchnia miała taki kształt, by idealnie przylegała do masztu.
Nacinano je odpowiednio, by dopasować do obejm i obręczy wzmacniających drzewce. Powierzchnia przednia, dziobowa deski wzmacniającej była płaska na odcinku górnym i wypukła w partii dolnej. Deski do drzewca mocowano niekiedy gwoździami, ale przede wszystkim obejmami linowymi rozstawionymi w regularnych odstępach i przesuniętymi w stosunku do obejm drzewca.
Chcąc uniknąć sytuacji, w której grubość desek wzmacniających mogłaby utrudniać ruchy stengi podczas wciągania jej maszt lub zdejmowania z masztu, w deskach wzmacniających wykonywano nacięcia odpowiadające obejmom.
Na rysunku powyżej przedstawiono schematycznie deski mocujące oraz proporcje, wedle których wykonywano profilowanie drzewca. Jeśli średnica na poziomie pokładu wynosiła 100, to później stopniowo malała. Im wyżej, tym była mniejsza.


Gniazdo stopy masztu – jarzmo


Dolny koniec masztu - stopę wstawiano w solidną obudowę przymocowaną do kontrnadstępki,
dzięki czemu maszt był solidnie zespolony z kadłubem.


Maszt wielkiego żaglowca składał się z kilku kolumn i stęg ustawionych jedna na drugiej. Jego podstawa nazywana jest stopą. Stopa była nie tylko punktem, na którym spoczywał cały ciężar drzewca, ale również miejscem narażonym na mocne naprężenia, zwłaszcza podczas sztormu i przy silnym wietrze. Maszty stawiano w taki sposób, że przechodziły przez koliste otwory w pokładach wykonane między dwoma pokładnikami zwanymi pokładnikami masztowymi.

Budowa jarzma

Nietrudno się domyślić, że dolny koniec masztu musiał być solidnie połączony z kadłubem. Stopę mocowano do elementu na stałe połączonego z kadłubem statku zwanego jarzmem stopy masztu.
Jarzmo składało się z dwóch grubych desek ułożonych wzdłużnie w stosunku do stępki i mocowanych do kontrnadstępki. Te grube elementy drewniane, zwane przez marynarzy nabiodrnikami, były utrzymywane w miejscu przez dwa elementy oporowe – jeden był montowany od strony dziobu, drugi od strony rufy. Po bokach nabiodrników dodawano dwa elementy wzmacniające złożone z grubych belek ułożonych poprzecznie do stępki.
Stopę masztu klinowano między elementami oporowymi zapewniającymi odpowiednie ustawienie osiowe w stosunku do mediany statku (rysunek poniżej).
Między elementy oporowe a stopę wstawiano kliny, które po pierwsze dociskały stopę masztu do konstrukcji oporowej, a po drugie umożliwiały regulację kąta nachylenia drzewca. W tym drugim wypadku regulowano nachylenie, wstawiając kliny różnej wielkości. Dla zapewnienia lepszej żeglowności, maszty były na ogół lekko nachylone w stronę rufy. W mniejszych jednostkach pływających, budowa jarzma była uproszczona. Mógł nim być jeden kloc drewniany, przymocowany do nadstępki. W klocu tym wykonywano otwór o przekroju kwadratowym, w który wstawiano stopę masztu. Jarzma w statkach sprzed XVII wieku miały taką samą konstrukcję, co w późniejszych mniejszych żaglowcach, z tą jednak różnicą, że dodawano dwa żebra połączone poprzeczką. Na angielskich statkach z reguły montowano jarzma złożone z dużego kawałka drewna mocowanego do nadstępki. W elemencie tym wykonywano kwadratowy otwór, w który wstawiano maszt.
Jarzmo bezanmasztu zwykle nie było mocowane do nadstępki, lecz do jednego z dolnych pokładów. Była to drewniana konstrukcja z kwadratowym otworem, w który wstawiano końcówkę masztu, tak jak robiono to na mniejszych statkach (rysunek poniżej).



Jarzmo bukszprytu

Jarzmo bukszprytu, czyli wystającego nad dziobem żaglowców masztu o dużym nachyleniu lub prawie poziomego, było skonstruowane inaczej niż w przypadku pozostałych masztów. Umieszczano je na pierwszym pokładzie w niedużej odległości przed fokmasztem (rysunek).



Jarzmo bukszprytu składało się z grubej, prostopadłej belki zwanej belką poprzeczną. Składała się ona zwykle z dwóch elementów mocowanych nad specjalnym pokładnikiem montowanym na drugim pokładzie. Pokładnik ten zwano pokładnikiem belki poprzecznej. Między dwoma elementami belki poprzecznej zostawiano pustą przestrzeń równą grubości stopy masztu i w nią wstawiano stopę masztu. Drugi element poprzeczny pokryty grubymi deskami z dębiny wstawiano nieco bardziej z przodu. W jego środku wykonywano kolisty otwór, przez który wsuwano bukszpryt.


Marsy dawnych żaglowców


Drzewca masztów żaglowców wyposażone były w ważne elementy łącznikowe, zwane dybami, zakładanymi
na wysokości marsów. Dawniej miały postać solidnego, odpowiednio obrobionego klocka z drewna.


Człony z których składały się maszty dużego siedemnastowiecznego żaglowca, były względem siebie równolegle na odcinku odpowiadającym miejscu ich połączenia. Oznacza to, że górny odcinek dolnego członu, czyli odcinek topu, był dosunięty do dolnego odcinka górnego członu masztu, czyli jego pięty. Taki system obowiązywał przy wykonywaniu grotmasztu, fokmasztu i bezanmasztu. Dotyczył wszystkich miejsc, w których łączono poszczególne człony masztu. Kolumnę ze stengą, stengę z bramstengą i tak dalej. Połączenie i mocowanie dwóch członów równoległych zapewniały dwa istotne elementy. Saling, czyli coś w rodzaju ramy (na której niekiedy montowano platformy marsów), umieszczony w dolnej części łącza, i dyby, montowane w górnej części łącza. Oba te elementy zapewniały stabilność członu drzewca górnego, jak też ustawienie liniowe w stosunku do członu dolnego (patrz rysunek).


dyby kontynentalne

Wyjątkiem od tej zasady był bukszpryt. Otóż połączenie bukszprytu z bukszpirem, jako naturalnym przedłużeniem bukszprytu, miało postać samych dybów, bez salingu. Dodawane elementy drzewca, pionowe w stosunku do bukszprytu, były mocowane dybami i wspornikiem.

Dyby: budowa

Na kolejnych rysunkach widoczne są rożne dyby stosowane w XVII wieku w stoczniach angielskich i kontynentalnych. Składały się z części głównej, czyli solidnego równoległościanu, litego lub z dwóch połówek łączonych kotwami. Dodatkowym wzmocnieniem bywały żelazne obręcze przybijane gwoździami na całym obwodzie.



dyby kontynentalne


Dyby holenderskie modelu Zeven Provincien









W przedniej powierzchni żłobiono zagłębienie, w które wsuwano czop, o takim samym kształcie i wymiarach, wykonany w topie niższego członu masztu. Przed tym zagłębieniem wykonywano otwór, w który wsuwano piętę górnego członu masztu. W ten sposób blokowano obie części.
Pod dybami i po jego bokach, mocowano pierścienie, na których wieszano bloczki wykorzystywane podczas wykonywania różnych manewrów rejami.
Położenie dybów pozwalało wykorzystywać je, jako punkt oparcia talii, do przemieszczania elementami masztów, ciężkich ładunków i innego wyposażenia.
Dyby „kontynentalne” i „angielskie” były wykorzystywane w taki sam sposób, lecz różniły się kilkoma istotnymi detalami. Model spotykany na statkach francuskich i kontynentalnych miał dolną powierzchnię płaską, górną zaś zakrzywioną. Na niej znajdowały się cztery żelazne paski wzmacniające oraz wpusty z otworami, w które wsuwano liny rejowe, czyli te, którymi i opuszczano reje (opis tych czynności w dalszych postach).


dyby angielskie

Dyby rozpowszechnione na jednostkach brytyjskich były prostsze i lżejsze. Miały kształt równoległościanu. Nie występowały w nich wpusty na liny. Liny do manewrowania mocowano pod salingiem.
_________________

Salingi - elementy łączące człony masztów


Człony masztów w dawnych żaglowcach były połączone salingami
– mocnymi ramami z krzyżujących się belek.

W dalszej części opisu konstrukcji masztów dawnych żaglowców przyjrzymy się ważnemu elementowi znajdującemu się na połączeniu dwóch członów masztu – salingowi. W poprzednim temacie pisaliśmy, że dwa przylegające do siebie człony drzewca były połączone przez dwa elementy: dyby, czyli głowicę znajdującą się na górnym końcu dolnego członu, i saling znajdujący się na wysokości pięty członu wyższego. Saling był czymś w rodzaju ramy złożonej z krzyżujących się i połączonych ze sobą belek. Razem z dybami łączył człony wszystkich masztów pionowych.


Konstrukcja wspierająca

Pod stengą niższej części masztu mocowano gwoździami dwie boczne deski zwane okładkami, które podtrzymywały saling. Saling z kolei składał się z dwóch grubych drewnianych belek – wzdłużników – ułożonych w osi statku i przymocowanych do masztu i okładek. Jak widać na rysunku, wzdłużniki nie były wyśrodkowane do osi członu masztu, do którego były przymocowane – przesuwano je nieco do przodu.



Na wzdłużnikach były przymocowane kolejne dwie lub trzy belki zwane poprzecznikami ustawione poprzecznie do osi wzdłużnej statku i tworzące razem ze wzdłużnikami konstrukcję przypominającą kratę. Między krzyżującymi się wzdłużnikami i poprzecznikami znajdowały się dwa otwory o kwadratowym przekroju. Przez otwór z tyłu przechodziła część dolnego członu masztu, a przez otwór z przodu – pięta górnego członu. Oba drzewce spinały dyby (rysunek poniżej).



Na wzdłużnikach, na stendze, znajdowały się dwie zaokrąglone belki zwane prowadnicami linowymi, których zadaniem było zapobieganie uszkodzeniu okuć olinowania stałego podtrzymującego po bokach maszt.

Funkcje salingów

Salingi umieszczano we wszystkich miejscach łączeń członów masztów. Znajdowały się więc pomiędzy kolumną grota i grotstengą, między grotstengą a grotbramstengą i tak dalej – występowały we wszystkich masztach pionowych. Ich funkcja nie polegała tylko na łączeniu sąsiadujących ze sobą członów masztów, służyły również do oddalenia od drzewca dolnej części olinowania stałego górnych członów masztów (want i podwantek). Dlatego na końcach poprzeczników wykonywano otwory wzmocnione żelazną blachą do mocowania tych lin (rysunek).



Salingi głównych członów masztów służyły również jako konstrukcje wspierające duże okrągłe lub prostokątne platformy zwane marsami.



Na dużych statkach i okrętach marsy były montowane również na salingach górnych członów masztów.


Marsy – wiszące platformy


Znajdujące się mniej więcej w połowie wysokości masztów marsy były platformami obserwacyjnymi,
które służyły też jako wsparcie marynarzom obsługującym żagle. Dzięki nim stenwanty były
odpowiednio nachylone, a strzelcy mieli z nich doskonały widok na pokłady wrogich jednostek.


Jak już wiadomo z poprzednich postów, nad salingiem kolumny masztu znajdował się mars.



Początkowo była to okrągła platforma, która z czasem stała się prostokątna i miała zaokrąglony już tylko przód. Składała się z dwóch warstw krzyżujących się i zachodzących na siebie desek, a na środku miała duży kwadratowy lub prostokątny otwór. Deski były do siebie przymocowane za pomocą gwoździ lub śrub. Cały mars spoczywał na poprzecznikach i wzdłużnikach, które z kolei były podtrzymywane przez okładki. Okładki były przymocowane śrubami po bokach masztu, tuż pod końcówką kolumny.


Mars okrągły



Mars prostokątny

Okręty miały przeważnie trzy marsy, po jednym na maszt: fokmars, grotmars i bezanmars. Na dużych jednostkach z XVI, a zwłaszcza XVII wieku, był też mars na bukszprycie. Niekiedy mniejsze marsy umieszczano również na salingach górnych członów masztów, czyli na styku steng i bramsteng.

Przemiany marsa

W dawnych czasach mars był czymś w rodzaju okrągłego kosza, zwanego bocianim gniazdem, umieszczanego na czubkach masztów statków/okrętów z ożaglowaniem rejowym i łacińskim. Był przeznaczony dla wartowników lub, w czasie walki, dla uzbrojonych marynarzy.


Mars okrętu z omasztowaniem jednoczęściowym

W najstarszej formie bocianie gniazdo miało wysoką balustradę, często pomalowaną żywymi barwami lub ozdobioną herbami i tarczami. Wchodziło się do niego po drabinkach linowych przylegających do masztu. W XVI wieku balustradę
stopniowo obniżano, a w kolejnych wiekach całkowicie zniknęła. Zastąpiła ją od strony rufy metalowa barierka z siecią chroniąca żeglarzy przed upadkiem.
Termin „mars” wszedł do użytku dopiero po wprowadzeniu masztów wieloczęściowych, kiedy na określenie żagla znajdującego się nad reją (i kolumną masztu) przyjęto nazwę „marsel” .
W XVIII wieku zrezygnowano z okrągłych marsów na rzecz prostokątnych, z zaokrąglonym przodem. Niezależnie od tego, gdzie się znajdował i jak wyglądał, mars był platformą o znacznych rozmiarach. Na jego powierzchni układano promieniście rozchodzące się deseczki, zwane rozpórkami, które dawały oparcie stopom marynarzy. W jego środku znajdował się duży kwadratowy otwór, przez który przechodziła końcówka kolumny masztu, pięta górnego członu, olinowanie stałe dolnego członu masztu i mocowanie rei.
Przez wolną część otworu, zwaną przełazem, na platformę mogli wejść ludzie wchodzący po wyblinkach na wantach. W rzeczywistości marynarze wspinali się raczej po podwantkach i przedostawali się na marsy od zewnątrz; korzystanie z przełazu było uważane za dowód tchórzostwa.

Główne funkcje

Marsy służyły głównie do mocowania i rozdzielania lin stengi. Marsy umożliwiały nadanie odpowiedniego kierunku linom i ich naprężenie. Były również często używane jako platformy obserwacyjne. Przydawały się także marynarzom, którzy wspinali się na maszty, by manewrować żaglami – mogli odpocząć na marsach i nie musieli dzięki temu schodzić na pokład. Podczas bitwy stanowiły znakomite stanowisko do strzelania do przeciwnika i rzucania granatami. Gdy okręt walczył z małej odległości, strzelcy na marsach, których zadaniem było strzelanie do oficerów na wrogim okręcie, mieli czystą linię strzału (patrz rysunek).

_________________

Zainteresowanych tematem polecam

The Elements and Practice of Rigging And Seamanship, 1794, by David Steel


http://www.hnsa.org/resou...manship/page-1/



narzędzia do wykonywania drzewc

Na przekrojach widać z ilu elementów składały się maszty dużych (100, 74-działowców) i mniejszych np. 36-działowca.


http://www.hnsa.org/wp-co.../mastplate1.jpg
konstrukcja masztu 100-działowca


konstrukcja masztu 74-działowca


maszt i bukszpryt 74-działowca


maszt i bukszpryt 36-działowca



http://www.hnsa.org/wp-co.../mastplate5.jpg
36-działowiec, maszty, reje, bomy, elementy marsów, salingi, dyby
_________________
Pozdrawiam
Karol